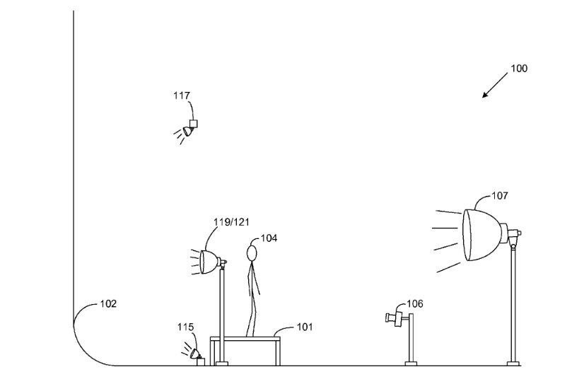
Es ist das Land der unmöglichen Begrenztheiten, in dem jetzt dem weltgrößten Onlinehändler Amazon ein Patent zugesprochen wurde, das eine im Fotografenalltag übliche Beleuchtungssituation beschreibt. Es ist kein großes Geheimnis, wie man Gegenstände schattenfrei vor weißem Hintergrund fotografiert: Man braucht eine Hohlkehle, einen Aufnahmetisch, eine Kamera und einige Lampen. Verwirrend an dieser Meldung: Wieso wird einer allgemeinüblichen Praxis der Patentschutz zugesprochen, und: Müssen jetzt alle Fotografen weltweit Lizenzgebühren an Amazon bezahlen? Ich habe mir daran ein Vorbild genommen und stehe bereits mit dem amerikanischen Patentamt in Kontakt, um mir das „Atmen“ patentieren zu lassen. Mit einem Streich hätte ich 7 Milliarden Lizenznehmer …
